Qingdao Xin Aneng Conveying Machinery Co., Ltd.
Qingdao Xin Aneng Conveying Machinery Co., Ltd.
ข่าว

การกำหนดโปรโตคอลทำความสะอาด

1.1 การกำหนดโปรแกรมทำความสะอาด

กวาดเทปกาวของฝุ่นถ่านหินที่ได้รับการยึดติด อย่างที่เราทราบกันดีว่าถ่านหินดิบที่ขนส่งจากใบหน้าเหมืองแร่มีระดับความชื้นที่แตกต่างกันและเป็นเรื่องง่ายที่จะยึดติดกับถ่านหินที่ถูกบดเป็นพื้นดินกับพื้นผิวของเทป หากถ่านหินที่ถูกบดด้วยเทปไม่ได้รับการทำความสะอาดถ่านหินที่ถูกบดจะถูกนำเข้าไปในถังเก็บเข็มขัดและลูกกลิ้งใต้สายพานด้านล่างทั้งหมดในส่วนที่ว่างเปล่า (เช่นเข็มขัดด้านล่าง) และส่วนใหญ่จะถูกฝากไว้ในถังเก็บเข็มขัด

ผลลัพธ์หลักคือ:

ถ่านหินที่ถูกบดจำนวนมากสะสมอยู่ในถังเก็บเข็มขัดซึ่งฝังลูกกลิ้งสนับสนุนทำให้ลูกกลิ้งล้มเหลวในการทำงานและส่งผลกระทบต่ออายุการใช้งานของเข็มขัด

2) การเบี่ยงเบนของการทำงานของสายพานจะทำให้เกิดการแขวนหรือฉีกขาด

3) เพิ่มความต้านทานการทำงานของเทปและเพิ่มต้นทุน

4) ปริมาณถ่านหินที่ทำความสะอาดเพิ่มขึ้นซึ่งเพิ่มความเข้มแรงงานของคนงาน

ในการใช้น้ำยาทำความสะอาดถ่านหินมีปัญหาสามประการที่ต้องแก้ไข:

1) เอฟเฟกต์การทำความสะอาดควรดี

2) น้ำยาทำความสะอาดง่ายต่อการเปลี่ยนและภาระงานการบำรุงรักษาควรมีขนาดเล็ก

3) จะต้องมีทางออกสำหรับถ่านหินที่ถูกทำความสะอาด

1. การวิเคราะห์สถานการณ์ปัจจุบัน

1) โครงสร้างและตำแหน่งของน้ำยาทำความสะอาดถ่านหินแบบดั้งเดิม


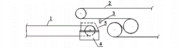
ดังที่เห็นได้จากรูปที่ 2-1 เครื่องฟอกถ่านหินจะถูกติดตั้งที่ด้านหลังของกลอง น้ำยาทำความสะอาดถ่านหินคือการซ่อมเทปชิ้นหนึ่งที่อยู่ตรงกลางสองแผ่นเพื่อสร้างกรอบน้ำยาทำความสะอาดถ่านหินใช้โครงสร้างพินและคันโยกเพื่อให้เทปทำความสะอาดถ่านหินติดกับเทปกลวงเพื่อทำความสะอาดใช้ความตึงเครียดของสปริงเพื่อให้น้ำยาทำความสะอาดถ่านหิน

2) ข้อบกพร่องของน้ำยาทำความสะอาดถ่านหินแบบดั้งเดิม

. น้ำยาทำความสะอาดถ่านหินประกอบด้วยเทปทำความสะอาดและเนื่องจากเข็มขัดด้านล่างเป็นเข็มขัดกลวงเข็มขัดจึงลอยขึ้นภายใต้แรงกดดันของน้ำยาทำความสะอาดถ่านหินความดันของน้ำยาทำความสะอาดถ่านหินไม่เพียงพอและผลการทำความสะอาดไม่ดี

6. น้ำยาทำความสะอาดถ่านหินอยู่ด้านหลังของกลองขนถ่ายและโดยทั่วไปอยู่ห่างจากกลองขนถ่ายมากกว่า 1 เมตรตามเงื่อนไขการติดตั้งและถ่านหินภายใต้การทำความสะอาดจำเป็นต้องดำเนินการในการประมวลผลถ่านหินขนาดเล็กเพื่อเลื่อนถ่านหินไปยังเข็มขัดถัดไป แต่บางครั้งเนื่องจากความสูงของพื้นที่ใต้ดินไม่เพียงพอ

ค. ภาระงานทดแทนของน้ำยาทำความสะอาดถ่านหินมีขนาดใหญ่ซึ่งทำให้น้ำยาทำความสะอาดถ่านหินง่ายต่อความเสียหายและรอบการเปลี่ยนก็สั้นมาก

3) ข้อต่อตักการขนส่งเข็มขัดทั่วไป

รอบการขนส่งเข็มขัดทั่วไปแสดงในรูปที่ 2-2

ดังที่เห็นได้จากรูปที่ 2-2 ถ่านหินใต้น้ำยาทำความสะอาดถ่านหินไม่สามารถลื่นลงบนเข็มขัดโดยตรงและตามบทบัญญัติของ "กฎระเบียบความปลอดภัยของเหมืองถ่านหิน" ส่วนที่วิ่ง 35 ชิ้นของอุปกรณ์ทั้งหมดจะต้องติดตั้งอุปกรณ์ป้องกัน (เช่นโล่)

ข่าวที่เกี่ยวข้อง
ฝากข้อความถึงฉัน
X
เราใช้คุกกี้เพื่อมอบประสบการณ์การท่องเว็บที่ดีขึ้น วิเคราะห์การเข้าชมไซต์ และปรับแต่งเนื้อหาในแบบของคุณ การใช้ไซต์นี้แสดงว่าคุณยอมรับการใช้คุกกี้ของเรา นโยบายความเป็นส่วนตัว
ปฏิเสธ ยอมรับ